电工、电子、电拖技能实训设备
立式通用电工、电子、电拖实训设备
电子技能及生产工艺实训设备
高性能电工、电子、电拖、电气实训设备
维修电工实训考核设备
供配电技术实训装置
农村通信系统线路实训装置
工厂电气控制供电实训装置
PLC可编程实训装置
PLC编程及自动化实验室设备
家用电器实训设备
PLC控制液压与气动实训装置
机电一体化实训设备
变频调速、工业自动化实训装置
数控机床电气维修实训考核设备
普通机床实训设备
机床电气技能培训及考核装置
钳工实验台、焊铆工实训设备
智能楼宇实训设备
工程制图实验室设备
财会模拟实验室设备
化工过程控制实训装置
风能、太阳能发电实训装置
煤矿安全技术培训装置
轨道交通实训系统设备
船舶、智能数码产品实训装置
机械工程技能实训设备
工程机械模拟教学仪
汽车模拟驾驶器
汽车发动机实训设备
汽车全车电器实验台
汽车空调系统实验台
汽车实物解剖模型
汽车底盘实训设备
汽车变速器实训台
汽车发动机拆装及翻转架设备
汽车示教板
汽车程控电教板
透明汽车教学模型
汽车整车综合实训系统
汽车驾校培训设备
新能源汽车教学实训装置
汽车实验箱
立式通用电工、电子、电拖实验室成套设备
电工、模电、数电、电气控制实验室设备
军用车辆实训教学设备
注塑机演示模型
工业机器人实训设备
农机教学设备
无人机装配综合实训装置
智能网联汽车实训设备
高级电工、电子、电机实验室设备
电工、电子、电气、电机实验室设备
数控技术实验室设备
家用电器电子实验室设备
单片机微机实验装置
传感器综合实验台
空调制冷制热实验室设备
多媒体数字语音设备
透明仿真教学电梯模型
理化生实验室设备
环境工程实验装置
流体力学实验室设备
热工类教学实验装置
化工原理实验装置
化工单元操作实训装置
制药工程实验装置
采暖通风和空调制冷实验装置
化学工程化学工艺实验装置
教学实验箱
机械示教陈列柜
机械多媒体仿真设计综合实验装置
机械创新教学模型
中学理科教学仪器
机械教学挂图
机械试验设备
心肺复苏模拟人
教学类软件
新闻中心主页 > 技术文章 >

圆柱直齿轮传动的构成


发布时间:2024-04-16
圆柱直齿轮传动的构成
一、实验的目的:
1、了解齿轮传动的构成,认识其组成元件;
2、掌握齿轮相关几何参数的定义及其意义;
3、掌握齿轮传动比、齿轮传动系统中轴的转速及力矩的计算方法;
4、了解齿轮在工程实际中的应用;
5、训练学生的工程实践动手能力,培养学生的创新意识及综合设计的能力。
二、实验原理及特点
任何平面机构可以用零自由度的杆组依次连接到原动件和机架上去的方法来组成,这是机构的组成原理,也是本实验的基本原理
1、 圆柱直齿轮传动机构
结构特点:其他传动相比,齿轮传动能实现任意位置的两轴传动, 具有工作可靠、使用寿命长、传动比恒定、效率高(98%~99%)、 结构紧凑、速度和功率的适用范围广(最大功率可达数万kW、 圆周速度200~300 m/s、转速20 000 r/min)等优点。主要缺点是制造和安装精度要求较高,加工齿轮需要用专用机床和设备, 成本较高。

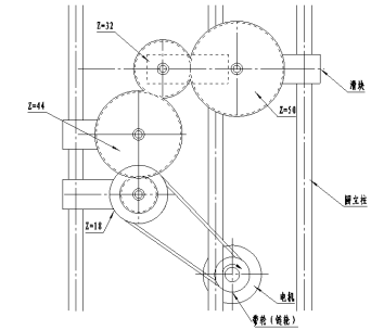
图1   齿轮传动机构
三、实验设备及功能
1)实验台机架
实验台机架如图2所示:机架中有5根铅垂的活塞杆,它们可沿X轴左右移动,固定靠六角头螺钉和蝶型螺母固定。需移动时请先将蝶型螺母松开,双手推动活塞杆.并尽可能使它保持垂直状态。活塞杆上的滑块可沿Z轴上下移动,用内六角螺钉将滑块紧定在活塞杆上。(注意:在移动立柱或滑块时需用直尺或卷尺量出它们的相对位置再把螺钉拧紧。)

图2  机架
2)其它组件
序号 名   称 示 意 图 规   格 数量 备   注
 
1
 
 
 
主动轴带轮
  1  
 
2
 
 
 
电机轴带轮
  1  
 
3
 
 
 
主   轴
  4  
 
4
 
 
 
齿   轮
Z=20 1  
 
5
 
 
 
齿   轮
Z=32 1  
 
6
 
齿   轮
Z=44 1  
 
7
 
齿   轮
Z=50 1  
 
8
 
 
 
端   盖
  5  
 
9
 
 
 
卡   环
  4  
3)其它标准件及工具
提供M5平头螺钉.M3圆头螺钉内六角扳手一套,1m卷尺一把,开口扳手1个。
 
 
四、实验台装配图及爆炸图

图3   装配图

图3   爆炸图


返回顶部 ↑

网站首页 | 关于我们 | 产品展示 | 新闻中心 | 售后服务 | 技术文章 | 产品导航 | 联系我们
相关产品: 支付宝, 百度, 点击这里给我发消息 点击这里给我发消息
友情链接: 财会模拟实验室设备 ,
邮箱:285729858@qq.com 沪ICP备16028912号-1