| 一、实验目的要求 
	1.验证不可压缩流体定常流的动量方程;2.通过对动量与流速、流量、出射角度、动量矩等因素间相关性的分析研讨,进一步掌握流体动力学的动量守恒定理;
 3.了解活塞式动量定律实验仪原理、构造,进一步启发与培养创造性思维的能力。
 二、实验装置
 本实验装置如下图所示:
 
   动量定律实验装置图
 1 自循环供水器    2 实验台    3 可控硅无级调速器    4 水位调节阀
 5 恒压水箱    6 管嘴    7 集水箱    8 带活塞的测压管
 9 带活塞和翼片的抗冲平板    10 上回水管
 自循环供水装置1由离心式水泵和蓄水箱组合而成。水泵的开启、流量大小的调节均由调速器3控制。水流经供水管供给恒压水箱5,溢流水经回水管流回蓄水箱。流经管嘴6的水流形成射流,冲击带活塞和翼片的抗冲平板9,并以与入射角成90°的方向离开抗冲平板。抗冲平板在射流冲力和测压管8中的水压力作用下处于平衡状态。活塞形心水深hc可由测压管8测得。由此可求得射流的冲力,即动量力F。冲击后的弃水经集水箱7汇集后,再经上回水管10流出,最后经漏斗和下回水管流回蓄水箱。
 为了自动调节测压管内的水位,以使带活塞的平板受力平衡并减小摩擦阻力对活塞的影响,实验装置应用了自动控制的反馈原理和动摩擦减阻技术。其构造如下:
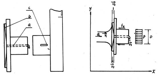
 带活塞和翼片的抗冲平板9和带活塞套的测压管8如下左图所示。该图是活塞退出活塞套时的分部件示意图。活塞中心设有一细导水管a,进口端位于平板中心,出口端伸出活塞头部,出口方向与轴向垂直。在平板上设有翼片b,活塞套上设有窄槽c。
 
  工作时,在射流冲击力作用下,水流经导水管a向测压管内加水。当射流冲击力大于测压管内水柱对活塞的压力时,活塞内移,窄槽c关小,水流外溢减少,使测压管内水位升高,水压力增大。反之,活塞外移,窄槽开大,水流外滥增多,测管内水位降低,水压力减小。在定常射流冲击下,经短时段的自动调整,即可达到射流冲击力和水压力的平衡状态。这时活塞处在半进半出、窄槽部分开启的位置上。过a流进测管的水量和过c外溢的水量相等。由于平板上设有翼片b,在水流冲击下,平板带动活塞旋转,因而克服了活塞在沿轴向滑移时的静摩擦力。
 三、实验原理
 定常流动量方程为
 
  其中β 称为动量修正系数,是考虑到管道流速非均匀时,用一维流的动量流量来表达实际非均匀流的动量流量而引入的一个修正系数。
 取控制体如下图所示,设平板对控制体的作用力为
  ,方向向左如图, 
  由x方向动量方程:
 
  或
  射流作用在平板上的力大小与此相等,方向向右。射流产生的冲击力与测压管产生的压力相平衡,考虑到轴套之间的滑动摩擦阻力水平分力
  <  0.5 %  ,可忽略不计,故 
  
  即 式中:    hc——作用在活塞形心处的水深;
 D——活塞的直径;
 Q——射流流量;
 
  1——射流的速度; β1——动量修正系数。
 实验中,在平衡状态下,只要测得流量Q和活塞形心水深hc,由给定的管嘴直径d和活塞直径D,代入上式,便可测定射流的动量修正系数β1值,并验证动量定律。其中,测压管的标尺零点已固定在活塞的圆心处,因此液面标尺读数,即为作用在活塞形心处的水探。
 四、实验方法与步骤
 1.准备:熟悉实验装置各部分名称、结构特征、作用性能,记录有关常数。
 2.开启水泵:打开调速器开关,水泵启动2~3分钟后,关闭2~3秒钟,以利用回水排除离心式水泵内滞留的空气。
 3.调整测压管位置:待恒压水箱满顶溢流后,松开测压管固定螺丝,调整方位。要求测压管垂直、螺丝对准十字中心,使活塞转动松快,然后旋转螺丝固定好。
 4.测读水位:标尺的零点已固定在活塞圆心的位置上。当测压管内液面稳定后,记下测压管内液面的标尺读数,即hc值。
 5.测量流量:用体积法或重量法测流量时,每次时间要求大于10秒.均需重复测三次再取均值。
 6.改变水头重复实验:逐次打开不同高度上的溢水孔盖,改变管嘴的作用水头。调节调速器,使溢流量适中,待水头稳定后,按3-5步骤重复进行实验。
 7.收拾实验台,整理数据。
 五、实验报告要求
 1.简要写出实验原理和实验步骤。
 2.记录有关常数
 实验装置台号No__________;
 管嘴内径(cm)d=
 活塞直径(cm)D=
 3.实验参数记录、计算表,并填入实测数据
 
	
		
			| 测次 | 重量 W
 | 时间 T
 | 活塞作用水头 hc
 | 流量 Q
 | 流速 V
 | 动量力 F
 | 动量修正系数 β1
 |  
			| 1 |  |  |  |  |  |  |  |  
			| 2 |  |  |  |  |  |  |  |  
			| 3 |  |  |  |  |  |  |  |  
	4.取某一流量,给出控制体图,阐明分析计算的过程
 六、实验分析与讨论
 1.实测
  (平均动量修正系数)与公认值β= (1.02~1.05)符合与否?如不符合,试分析原因. 2.带翼片的平板在射流作用下获得力矩.这对分析射流冲击无翼片的平板沿x方向的动量方程有无影响?为什么?
 3.通过细导水管的分流,其出流角度与v2相同,对以上受力分析有无影响?
 |