|
序号 |
设备名称 |
主要参数 |
|
1 |
工业机器人 |
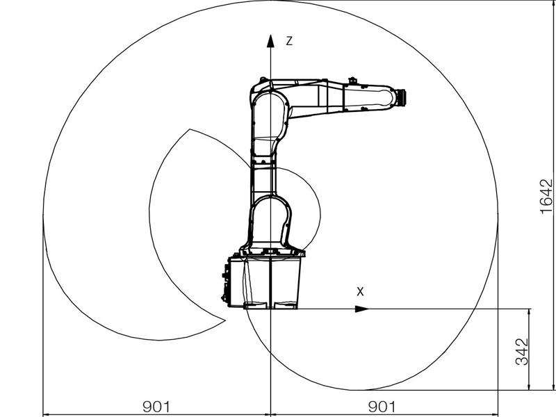
1) 机器人本体
2) 轴数:6轴
3) 第6轴达到距离:700mm
4) 称重能力: 4kg
5) 重复定位精度:±0.02mm
6) 防护等级:IP40
7) 安装方式:落地式
8) 机器人底座尺寸:190×190mm
9) 本体质量:54kg
10) 机器人本体到控制柜之间的电缆长度:不小于5m
11) 上臂集成信号源:至少10路
12) 上臂集成气源:最高5 bar
13) TCP最大速度:不小于7.1m/s

|
|
2 |
主机架 |
1600×1200×900mm工业铝型材搭建,钣金表面喷塑处理,带滚轮。 |
|
3 |
操作面板模块 |
操作面板上的元件:操作面板上的元件,电源指示灯,蜂鸣器等。 |
|
4 |
放料平台模块 |
实现物料搬运,九宫格分拣功能。 |
|
5 |
码垛仓库模块 |
由三层码垛平台组成,钣金喷塑,铝型材搭建。 |
|
6 |
流水线模块 |
实现与输送物料自动化设备联动,实现自动搬运分类仓储等功能。 |
|
7 |
TCP及工具架模块 |
实现TCP工具存储,TCP点的校准等功能。 |
|
8 |
几何轨迹模块(TCP练习区) |
A4纸大小,模板可按要求更换,模板上有矩形,三角形,圆,弧线灯,文字等轨迹。 |
|
9 |
冲压模块 |
实现与冲压自动化设备联动,实现冲压设备自动搬运分类仓储等功能。 |
|
10 |
抛光打磨模块 |
模拟工厂比较通用的打磨砂轮 抛光砂轮 打磨皮带等打磨工艺。实现模拟打磨抛光等功能。 |
|
11 |
装配点胶模块 |
模拟工厂比较通用的二次定位轴孔装配,点胶等工艺。 |
|
12 |
加工中心模块 |
模拟工厂比较通用的加工类设备上下料,上嵌件等工艺。 |
|
13 |
机器人夹具模块 |
实现物料吸取,TCP轨迹运行等功能。 |